Hello, Takafu here.
SurfacePro7 is selling ridiculously well, but I’m very curious about the rumor information and release date of the next model, the SurfacePro8.
We’ve gathered and summarized Microsoft’s patent information filed with the U.S. Patent and Trademark Office as well as information from overseas.
(Added October 2, 2020).
On October 1, 2020, Microsoft has announced a new Surface product. .
Unfortunately, Surface Pro 8 and Surface Laptop 4 were not among them.
If things go as usual, I thought it would be released in October, but perhaps it’s the influence of the new Corona, or maybe it’s the fact that even Apple’s iPhone has been delayed to the extent that it’s released in previous years, so even Microsoft may not be an exception.
So now that we don’t know when a new model will come out, Surface Pro 7 may be the real time to buy one.
Pro 8が発表されたからか Pro 7の値下げがキターーー!!
今ならMicrosoftストアで Surface Pro 7 が40%OFFのセール をやってます!

一番売れ筋の Core i5/8GB/256GB が ¥92,268です。
Surface Pro 7史上一番の安さです…
>> 【Microsoft公式ストア】Surface Pro 7 セール価格のページはこちら
This article has been rewritten with a new projected release date.
Surface Pro 8 release date forecast is June 17, 2021
First, let’s take a look back at the release dates of the Surface Pro series that have been released to date.
| Models | Date of release |
|---|---|
| Surface Pro | February 9, 2013 |
| Surface Pro 2</td | October 22, 2013 |
| Surface Pro 3 | June 20, 2014 |
| Surface Pro 4 | October 26, 2015 |
| Surface Pro (5th generation) | June 15, 2017 |
| Surface Pro 6 | October 16, 2018 |
| Surface Pro 7 | October 22, 2019 |
| Surface Pro 8 (tentative name) | June 17, 2021(?) |
Most recently, the Surface Pro series has been released in either June or October since the Surface Pro 2.
The Surface Pro 8 was not included at the time of the announcement of Microsoft’s new Surface series in October 2020, so if things go as usual, the next one will be June 2021.
And if it’s a June release, it’s been the third Thursday of June so far, so the Surface Pro 8 release date June 17, 2021 (Thu)is thick.
But I think we were well on track with the development of Surface Pro 8 until the covid-19.
So I think there is a good chance that the Surface Pro 8 will be released as soon as the development of the Surface Pro 8 is complete and ready for product release.
If we don’t announce new products on a regular basis, people will slowly lose interest in them. I’m looking forward to such surprise announcements.
And so far the new Corona has been good for the Surface Pro sales side of things.
Because of the overwhelming increase in remote working opportunities, a powerful PC that is easy to carry around with video conferencing is selling very well and Surface Pro 7 is getting a lot of attention.
In order to ride the wave of this demand for remote work, we hope that the new Surface Pro 8 model will be released soon. .
Rumors about Surface Pro 8
There’s a rumor about the Surface Pro 8 that I’m curious about.
Solar charging, so…!
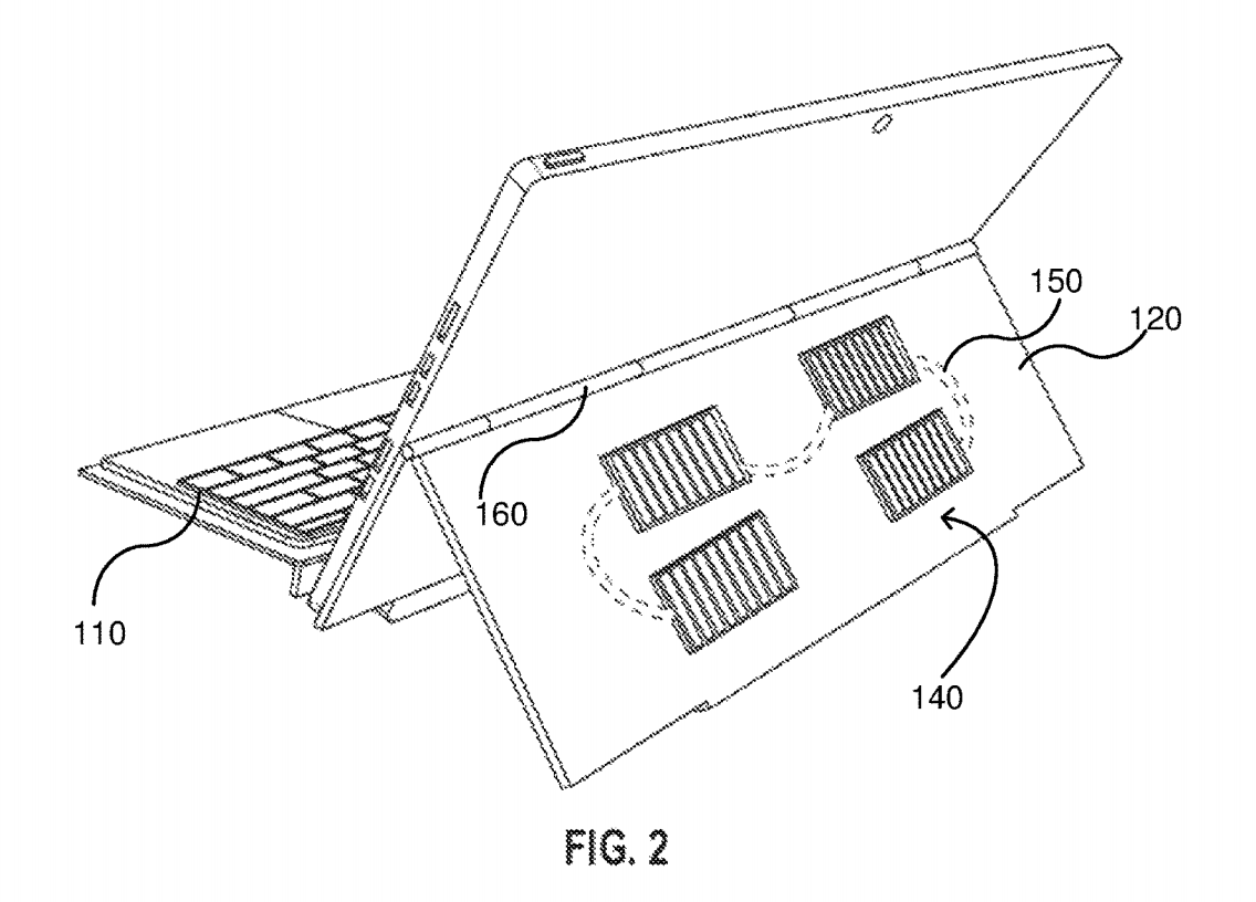
Microsoft’s patent filed with the USPTO (United States Patent and Trademark Office), the so-called U.S. Patent and Trademark Office According to
What a surprise, the Surface Pro 8 might have a solar panel on the back of the kickstand that can be used for solar charging.

I don’t want to expose it to sunlight, though, even though it’s solar charged.
Is solar technology developing without you knowing it?
I thought that such a small solar panel would only be able to provide a tiny amount of power, but it would be amazing if this could be achieved.
According to one theory, you can charge it with a desk lamp or a fluorescent light in the room.
If this is true, you won’t have to look for a power source when you are out and about, and you can continue to use anywhere forever.
This is just a dream come true, but in reality, it doesn’t seem to be able to charge the battery with solar panel only.
(*These are all my own speculations.)
For example, if you can reduce the battery life by 50% with this solar panel, you can reduce the battery life of Surface Pro 7 from 10.5 hours to 21 hours.
We would be very grateful if we could increase the battery life, even a little bit, wouldn’t we?
Deep bass speakers, so…!
Here’s another patent information filed by Microsoft with the U.S. Patent and Trademark Office that could include a speaker that makes heavy bass sounds on the back of the kickstand. This must be done.

That triangular space becomes a box to make it resonate, you say…!
What this means is that when you open the kickstand, the space inside is made to look like a resonant box, which can greatly amplify the volume or create a heavy bass sound. strong it seems. 
This is wonderful!
If they really came out with something like this I’m sure they would be able to produce a sound so good that it would overturn the conventional concept of laptop speakers.
The time has come for street rappers to switch from the Dodecaphorn to the Surface Pro 8. (Laughs)
(*The Dodecahorn is a heavy bass boombox that Sony put out in the old days.
Nowadays, we live in an age where we can easily enjoy videos on YouTube and Netflix, but the speakers on mobile devices are inevitably weak, but if this is achieved, it will revolutionize the viewing experience. It has a lot of potential.
Maybe they’re doing this in anticipation of the 5G-based video warfare era. This is a lot of fun.
Will it be strong for video editing if it is equipped with Tiger Lake, the 11th generation CPU?
The Surface Pro has been equipped with the latest CPUs from Intel with each new model.
This time around, the Surface Pro 8 is expected to feature the 11th generation “Tiger Lake” CPU.
Tiger Lake is capable of incorporating Xe architecture GPUs with built-in graphics, so it will be able to deliver graphics performance on par with external GPUs.
The Tiger Lake may have twice the graphics performance as the 10th generation Ice Lake CPU used in the Surfacce Pro 7.
It’s said to be able to do a little PC gaming as well.
https://pc.watch.impress.co.jp/docs/news/yajiuma/1259904. html
Well, I don’t play PC games or anything like that, so if I were to expect anything, it would be video editing.
In terms of my usage, I would be very happy if I could use just the Surface Pro 8 for video editing in addition to web browsing and programming.
Nowadays, everyone uploads videos, so if Surface Pro is going to be strong enough for video editing, I’m pretty excited about this CPU update.
However, Tiger Lake itself is not yet officially announced by Intel, this itself is said to be released around October, so the release may be delayed because of the CPU.
What to expect personally from the Surface Pro 8 update
I hope the next one is bezel-less!
One update that wasn’t achieved on the Surface Pro 7 was to go bezel-less.
Bezel-less means that the edges of the LCD are narrower.
Bezel-less is a complete trend in laptops these days. Most laptops from all major manufacturers are bezel-less.

The difference in its bezel width is obvious when compared to its rival, the Macbook Pro 13-inch.
The Surface Pro X was able to be bezel-less, so technically it should be possible!

Surface Pro X bezel-less is what we’re looking for in a Surface Pro 8!
Going bezel-less would take it from its current delicate 12.3-inch size to the big 13-inch mark.
Realistically, this is what I’d most like to see happen with the Surface Pro 8. (Of course, the chassis size will remain the same, but the type cover is reusable and onasy.
If only there were two USB-C ports!
Two USB-C ports are nice to have.
The Surface Pro 7 has a USB-C port and a USB-A port for real-world use.

If you have two USB-C ports, you should be able to output two 4K monitors….
This is a nice thing to have, but if it comes to 2020, USB-C is becoming more and more popular and above all as long as there are two USB-C ports, you can connect to two external monitors, so you can realize a dual external monitor with just one unit.
We would appreciate it if you could provide two USB-C ports because currently, Surface Dock 2 is necessary to realize dual external monitors.
It’s a good thing that the Surface Book 3, a higher-end model, doesn’t have two USB-C ports, so this may be a bit of a tough sell.
Surface Pro 8 concept video
A concept video of the Surface Pro 8 has been uploaded to YouTube. Consept Creator is a company that often puts up concept videos from overseas.
※This is just a concept video.
It’s a pretty good line of work. The bezel-less is still a must, and there are multiple USB-C ports. The keyboard is also much thinner.
There doesn’t seem to be any Surface Connect, but I don’t think that’s going to happen since they just launched the Surface Dock 2.
And there’s no solar charging or heavy bass speakers due to the patent information in this article. Sure, it’s true that Apple and others do, but there are certain things that appear in patents but are not implemented.
The reality line might be these specs. Even if the Surface Pro 8 is like this one, I’d really like it.
Summary
So the Surface Pro 8, which will be released in a few minutes, is going to be a very exciting device when it’s updated as per the patent information.
Lastly, we’ll review this article.
-
- Surface Pro 8 is expected to launch in June 2021, based on the release date to date
-
- Enormous battery life with solar charging
-
- Deep bass speakers will revolutionize the laptop’s viewing experience
That was the case.
However, it seems that both the solar panel and the heavy bass speaker are designed to be attached to the back of the kickstand, so it may be one of the two that will be implemented. It’s possible that they will be sold as options, though.
Personally, I’m really interested in the heavy bass speakers and the increased performance of the built-in GPU.
If you can enjoy YouTube and Netflix with high sound quality and can crunch through video editing with just one Surface Pro 8, then you will definitely be able to “Buy” This is definitely a PC to buy.
We’ll let you know more about the Surface Pro 8 in this article when the latest news comes in.
That’s all from the field.
Pro 8が発表されたからか Pro 7の値下げがキターーー!!
今ならMicrosoftストアで Surface Pro 7 が40%OFFのセール をやってます!

一番売れ筋の Core i5/8GB/256GB が ¥92,268です。
Surface Pro 7史上一番の安さです…
>> 【Microsoft公式ストア】Surface Pro 7 セール価格のページはこちら

